德国HBM PW12荔枝视频在线观看免费高清视频产品介绍
德国HBM PW12荔枝视频在线观看免费高清视频的量程范围为50 kg至1,000 kg,经过NTEP认证,OIML R60和R76认证。德国HBM PW12荔枝视频在线观看免费高清视频适用于平台秤、吊钩秤等,结构为铝材,配有10英尺(3.1米)的荔枝视频在线观看免费高清视频电缆。

德国HBM PW12荔枝视频在线观看免费高清视频产品参数
| 输出电压 | 2.0 mV / V |
| 输出电阻 | 330-430欧姆 |
| 输入电阻 | 300-500欧姆 |
| 材质/表面处理 | 铝 |
| 温度补偿范围 | 14°F至104°F(-10°C至40°C) |
| 温度工作范围 | -40°F至150°F(-40°C至65°C) |
| 极限过载 | 150% |
| 安全过载 | 100% |
| 额定激励 | 5-10 VDC(最大15 V) |
| 非线性误差 | 0.02% |
| 滞后误差 | 0.02% |
| 绝缘电阻 | 1,000兆欧 |
| 容量偏差 | 0.010英寸(0.25毫米) |
| 密封类型 | 环保密封,IP67 |
| 电缆长度 | 10英尺(3.1米) |
| 电缆直径 | 0.190聚氨酯护套 |
| 电缆颜色代码 |
蓝色: +激励 黑色:-激励 绿色: +信号 灰色:-信号 黄色:盾 |
| 认证 | FM、NTEP |
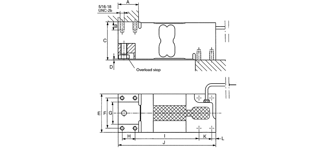
德国HBM PW12荔枝视频在线观看免费高清视频外形尺寸图

| 量程 | A | B | C | D | E | F | G | H | I | J | K | L |
| kg/mm | ||||||||||||
| 50-1,000 | 40.00 | 16.00 | 75.00 | 1.5 | 76.00 | 60.00 | 44.00 | 25.00 | 125.00 | 191.00 | 25.00 | 8.00 |
| lb/in | ||||||||||||
| 110.2-2,205.0 | 1.57 | 0.62 | 2.95 | 0.05 | 2.99 | 2.36 | 1.73 | 0.98 | 4.92 | 7.51 | 0.98 | 0.31 |
